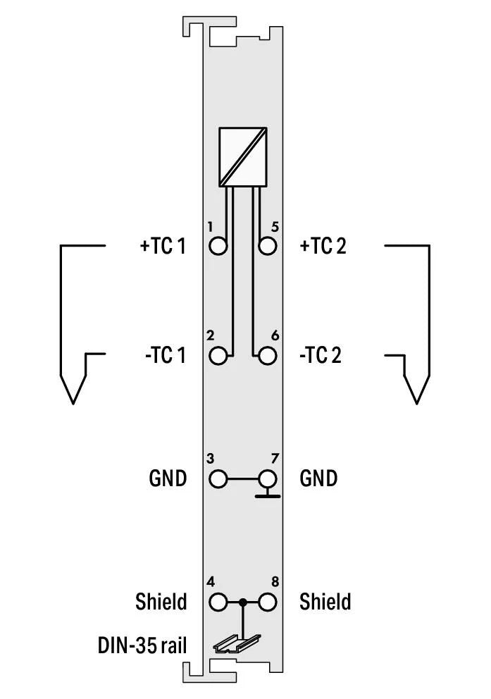
750-469/000-200 WAGO Módulo de entrada analógica
750-469/000-200 WAGO Módulo de entrada analógica
WAGO
|
SKU: WA_MES_162_N
Precio habitual
$469.19 USD
Precio habitual
Precio de oferta
$469.19 USD
Precio unitario
/
por
Los gastos de envío se calculan en la pantalla de pago.
No se pudo cargar la disponibilidad de retiro
Ficha técnica
Compartir



