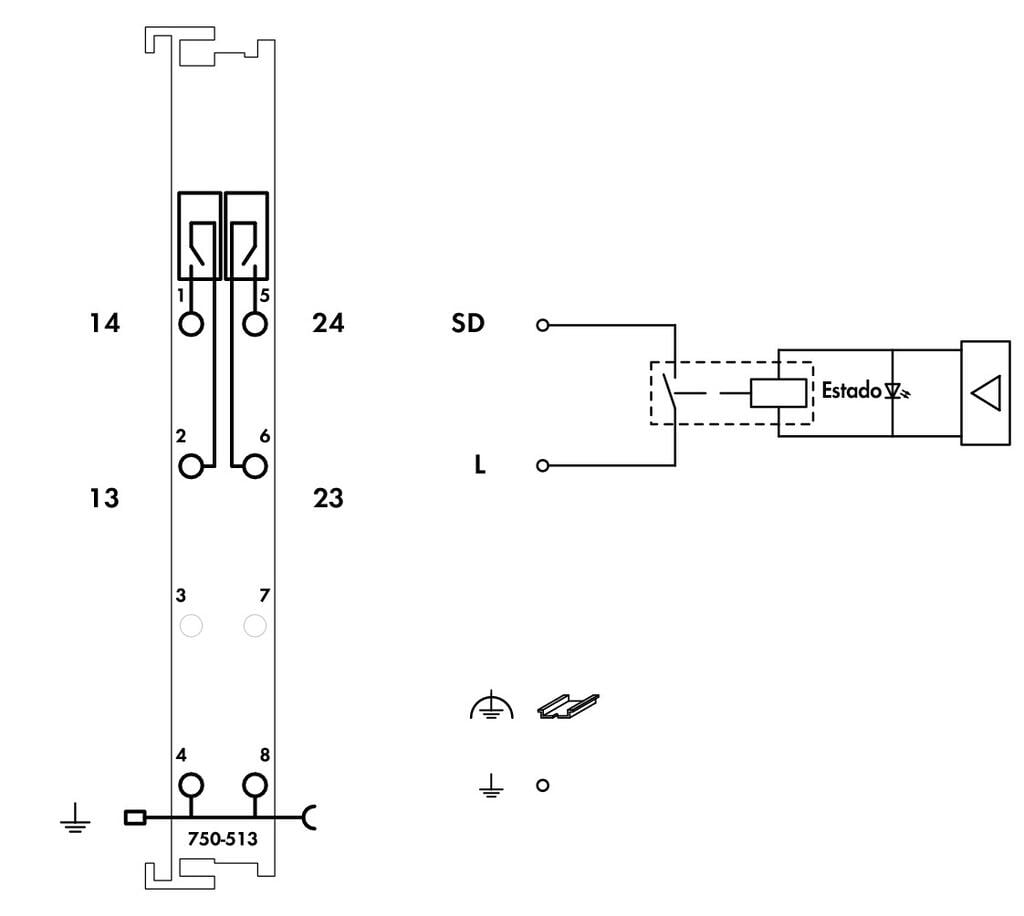
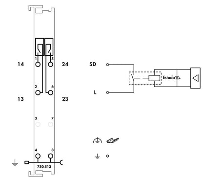
750-513 WAGO Salida relé, 2 canales; 250 V AC; 2,0 A; libre de potencial; 2 contactos de cierre
750-513 WAGO Salida relé, 2 canales; 250 V AC; 2,0 A; libre de potencial; 2 contactos de cierre
WAGO
|
SKU: WA_MES_270_N
Precio habitual
$109.70 USD
Precio habitual
Precio de oferta
$109.70 USD
Precio unitario
/
por
Los gastos de envío se calculan en la pantalla de pago.
No se pudo cargar la disponibilidad de retiro
Módulo de salida con relé de 2 canales, 250 V AC, 2,0 A por canal, libre de potencial, con 2 contactos de cierre (NA). Proporciona aislamiento galvánico para una conmutación segura y fiable de cargas eléctricas en aplicaciones industriales. Ideal para control de dispositivos eléctricos que requieren aislamiento entre la lógica y la carga.
Ficha técnica
Compartir


