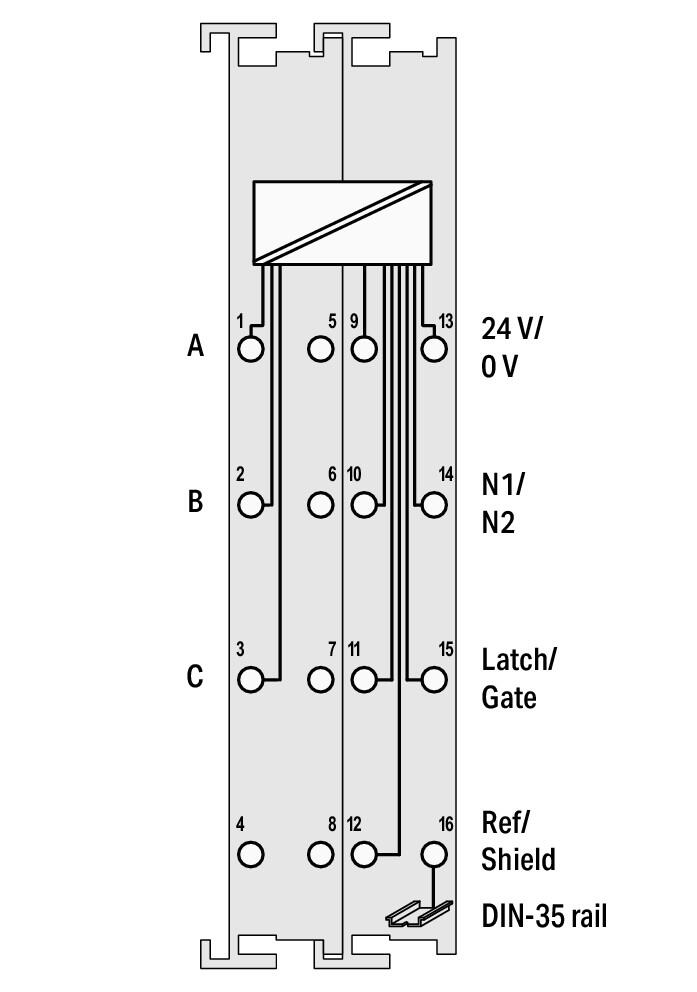
750-637/000-002 WAGO Interfaz con encoder incremental
750-637/000-002 WAGO Interfaz con encoder incremental
WAGO
|
SKU: WA_MES_103_N
Precio habitual
$569.87 USD
Precio habitual
Precio de oferta
$569.87 USD
Precio unitario
/
por
Los gastos de envío se calculan en la pantalla de pago.
No se pudo cargar la disponibilidad de retiro
Ficha técnica
Compartir
